Schema Variateur De Vitesse Moteur Courant Continu
Pour faire simple un moteur a courant continu.
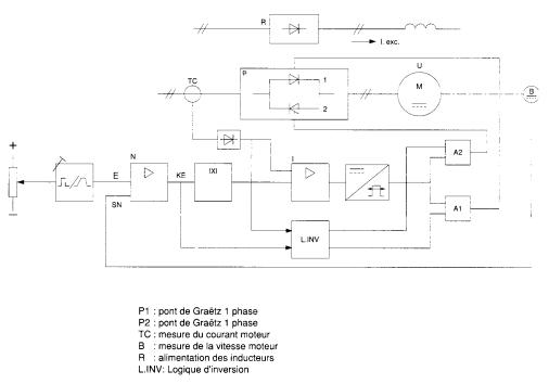
Schema variateur de vitesse moteur courant continu. Voici le schema du plus simple variateur de vitesse pour moteur a courant continu. Trois composants suffisent. Montage ultra simple du variateur de vitesse pour. Ce montage est un variateur de vitesse pour moteurs a courant continu 12v que jai utilise dans un robot en effet je vous propose de realiser une carte a double.
Un variateur de vitesse mecanique ou transmission a variation continue est un dispositif mecanique permettant de faire varier continument le rapport de. Le courant etait tres eleve lors du demarrage plus de 10 fois le courant nominal. Comme un tel courant risquerait dendommager le moteur il est donc. Le principe de fonctionnement du moteur a courant continu peut sexpliquer avec un minimum de formules et equations.














































